谯城区工业和信息化局
当前位置: 网站首页 > 政府信息公开 > 区工业和信息化局 > 行政执法公示
索引号: 11341602003165695B/202502-00019 组配分类: 行政执法公示
发布机构: 谯城区经济和信息化局 主题分类: 综合政务
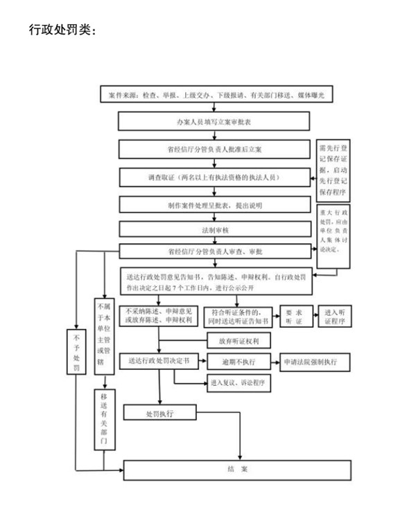
名称: 区工业和信息化局行政处罚执法程序(2025年版) 文号:
发文日期: 2025-02-03 发布日期: 2025-02-03
索引号: 11341602003165695B/202502-00019
组配分类: 行政执法公示
发布机构: 谯城区经济和信息化局
主题分类: 综合政务
名称: 区工业和信息化局行政处罚执法程序(2025年版)
文号:
发文日期: 2025-02-03
发布日期: 2025-02-03
区工业和信息化局行政处罚执法程序(2025年版)
发布时间:2025-02-03 10:01 信息来源:谯城区经济和信息化局 浏览次数: 字体:[ ]